Originally published Dec. 2020. Completely updated March 2026.
For years my websites have been some of the very few where you could find accurate, detailed information about the new, Chinese-made bass saxophones by Jinyin and Jinbao. But in December 2020, I came across some info about the short wrap, Jinbao-made bass saxophones that I had never heard before, and that quite frankly shocked me: they are patented! ![]()
Yes indeed, in 2010, Jinbao obtained patent # CN101409069 for what appears to be nothing other than a knockoff of short wrap, AKA French, or Selmer-style bass saxophone.
The abstract for the patent reads as follows:
The invention relates to a double-bass saxophone, consisting of a mouth piece, a blowing nozzle, a pipe body, a horn mouth and a sound key system. The pipe body consists of the following units: a first body which is set as a reducing straight tube connected with the horn mouth; a second body which is set as a reducing straight tube and arranged in parallel to the first body; a first bent tube which is set as a reducing upswept tube and connected with the first body and the second body; a third body which is set as a reducing straight tube and arranged in parallel to the first body and the second body; a fourth body which is set as a reducing straight tube and arranged in parallel to the first body, the second body and the third body; a third bent tube which is set as a reducing upswept tube and connected with the third body and the fourth body. The double-bass saxophone has the scientific and reasonable structure that the double-bass saxophone is precisely designed and manufactured on basis of intonation and timbre. Therefore, the double-bass saxophone is capable of perfectly performing lowering and refined timbre effect of double bass, thereby adding dramatic music effect to the performance of classical music, jazz music and light music.
A bass saxophone with patent CN101409069A looks like what?
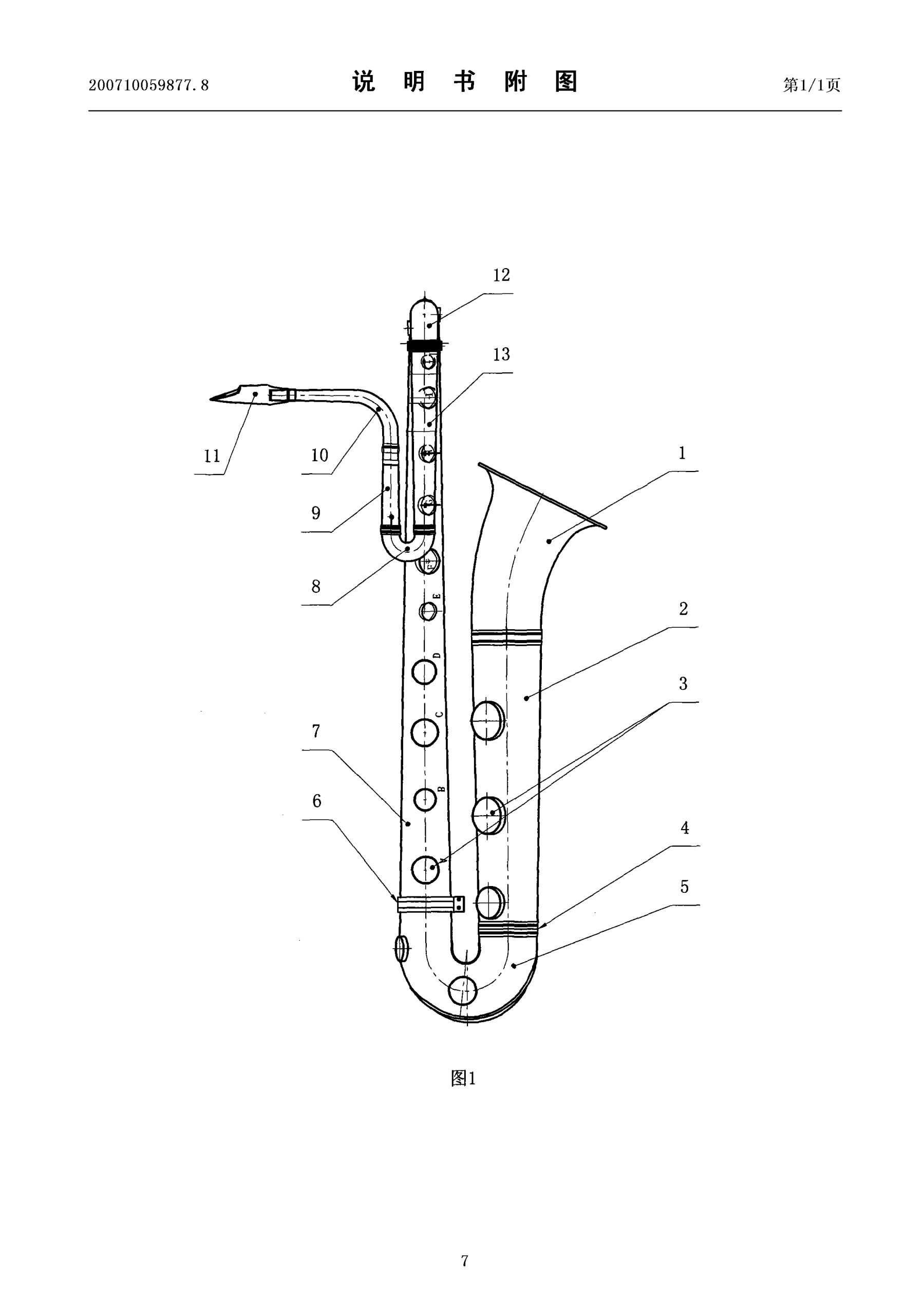
To make this ink drawing easier to connect to the description I have colour-coded it along with its description. If you are are a purist and want to see it without my paint by numbers,
you can see it see it here.
Patent background
The applicants were Jinbao Musical Instruments Co, Ltd. from Tianjin City. To me this looked like the Selmer Super Action 80 Series II Bb bass saxophone knockoffs that Jinbao had been stencilling for years.
A quick check of the patent date indicated to me that that was exactly what I was seeing. The application was filed October 12, 2007. The document was published on April 15, 2009, and had substantively started being examined on June 10th that same year. The patent for this application was then granted December 8, 2010.
So now I was curious. Why was Jinbao able to obtain a patent on an instrument that was ostensibly a copy of a Selmer-style saxophone? Sadly I am not able to read the original documents, since they were filed in Chinese.
NB: Both the translated versions provided on Espacenet and Patent Translate were hard to make out due to errors in what are computer-generated translations. In the end I chose to go with Patent Translate, to give readers an easy way to compare the 2 if they so chose.
As you will notice, the translation program uses the same word to mean vastly different things. EG: nozzle. Sometimes it means neck, other times it means bell. I have had to rely on the measurements provided to try and make sense of which is which. Other times a different, incorrect word—in this case mouthpiece—are used to describe the same object, sometimes in the same paragraph. Hence the colorization. Fingers crossed I got them all right. ![]()
One last thing: Due to the length of this article, hence distance from the original drawing, I have intermittently placed popup links to the colorized diagram in the article so you can reference it. This should reduce your need for as much scrolling.
Description
DESCRIPTION CN101409069A
Bass Saxophone
[0001]Technical field
[0002]
This invention belongs to the field of Western musical instruments, and in particular to a contrabass saxophone.
[0003]
Background technique
[0004]
The saxophone, also known as the saxophone tube, was invented based on the sounding principle of the Boehm flute. This instrument is played with a single reed, and its structure and range of opening and closing tone holes are similar to those of the clarinet. The body of the tube is made of brass, so it can also be classified as a brass instrument. [News to me]Its timbre lies between that of woodwind and brass instruments, possessing both the brightness of brass and the mellowness of woodwinds. The timbre is beautifully varied, deep and calm, full of emotion, gentle and melancholic. It can not only play classical music excellently, but is also better suited to playing jazz and light music. It is currently a popular instrument among musicians.[0005]
The structure of a saxophone typically includes: a metal parabolic conical tube, a mouthpiece similar to that of a clarinet, a Boehm key system, a mouthpiece [neck], and a bell. The mouthpiece and bell are respectively installed at both ends of the tube, and the mouthpiece [neck] is installed between the mouthpiece and the tube. The diameter of the tube gradually increases from the end where the mouthpiece is located to the end where the bell is located.Currently, except for the B-flat soprano saxophone which uses a straight tube, all other saxophones are bent into a pipe shape, including the alto saxophone, tenor saxophone, and bass saxophone. However, existing pipe-shaped saxophones still have certain limitations in terms of range. For example, due to the limitations of their shape and size, they cannot properly represent the tone and timbre of bass frequencies.[0006]
Summary of the invention
[0007]
The purpose of this invention is to overcome the shortcomings of the prior art [whose?] and provide a contrabass saxophone with a reasonable structure, precise design, comfortable playing, and the ability to fully express the deep and elegant tone of the contrabass, making it highly musically expressive.
[0008]
The technical problem solved by this invention is achieved through the following technical solution:
[0009]
This bass saxophone consists of a mouthpiece, mouthpiece [neck], body, horn, and key system. The mouthpiece, mouthpiece [neck], body, and horn are connected in sequence in a pipe shape. The key system is located on the body. Its innovation lies in the fact that the body is composed of the following components, and the dimensions of each component are as follows:
[0010]
The first body is a variable-diameter straight pipe connected to the nozzle [bell], with a length of 470-500 mm.
[0011]
The second body is a straight pipe with a variable diameter, which is set up side by side with the first body, and its length is 915~935 (mm);
[0012]
The first bend is a reducing upper bend that connects the first body and the second body. Its length is 225-235 mm.
[0013]
The third body is a variable diameter straight pipe, which is set up side by side with the second body, and its length is 305~320 (mm);
[0014]
The second bend is a reducing bend that connects the second and third bodies. Its length is 120-135 mm.
[0015]
The fourth body is a variable diameter straight pipe, which is set up side by side with the third body, and its length is 112~122 (mm);
[0016]
The No. 3 bend is a reducing upper bend that connects the No. 3 body and the No. 4 body. Its length is 80-95 mm.
[0017]
The pipe body has a gradually changing diameter from φ24~φ28 (mm) to φ110~φ120 (mm);
[0018]
The diameter of the nozzle [bell] is φ232~φ250 (mm);
[0019]
The nozzle [neck] length is φ245~φ270 (mm), and the nozzle diameter gradually changes from φ14~φ18 (mm) to φ23~φ27 (mm).
[0020]
Furthermore, the sound holes of the key system are spaced apart on the first body, the first bend, the second body, the second bend, and the third body.
[0021]
Furthermore, the connecting ends of the No. 2 body and the No. 2 bend are both detachably inserted into a fixing ring, and are locked in place by screws on the fixing ring.
[0022]
The advantages and beneficial effects of this invention are as follows:
[0023]
This double bass saxophone features a scientifically designed and rationally constructed structure, precisely designed and manufactured based on pitch and timbre. By precisely controlling the required increase in tube length and diameter, the sound propagation distance within the tube is extended, thus perfectly reproducing the deep and elegant timbre of the double bass. The mechanical system operates flexibly and smoothly, adapting to the performance needs of highly difficult pieces in playing techniques such as glissando, vibrato, staccato, and overblowing. With endless rhythmic variations, it adds dramatic musical effects to the performance of classical music, jazz, and light music.
[0024]
Attached Figure Description
[0025]
Figure 1 is a schematic diagram of the structure of the present invention.
[0026]
Detailed Implementation
[0027]
The present invention will be further described in detail below with reference to the accompanying drawings and specific embodiments.
The following embodiments are descriptive only and not limiting, and should not be used to limit the scope of protection of this invention.[0028]
Because the key system installed on the saxophone itself is quite complex, each sound hole is equipped with a cover plate, and buttons are installed on the cover plates corresponding to the sound holes on the upper part of the saxophone. The buttons are linked to the cover plates corresponding to the sound holes on the lower part of the saxophone through a linkage system, thereby controlling the sound production in the high and low registers.
If the key system were shown in the accompanying drawings, it would obscure the structure of the instrument itself. However, the key system involved in this invention is similar to that of existing alto saxophones, so the key system is omitted in the accompanying drawings of this embodiment.[0029]
This bass saxophone consists of a mouthpiece 11, a mouthpiece [neck] 10, a body, a horn [bell] 1, and a key system. The mouthpiece, mouthpiece, body, and horn are connected in a pipe shape. The key system is located on the body and consists of a sound hole 3 on the body, a corresponding cover plate, and a button and linkage system for controlling the opening and closing of the cover plate. Its innovation lies in the fact that the body is composed of the following components, and the dimensions of each component are as follows:
[0030]
Body No. 1, marked 2: is a reducing straight pipe connected to the nozzle, with a length of 470-500 mm, the optimal length being 487 mm;
[0031]
Body No. 2, marked 7: is a reducing straight pipe, set up side by side with Body No. 1, with a length of 915~935 (mm), and the optimal length is 929 (mm);
[0032]
No. 1 bend, marked 5: is a reducing upper bend, connecting No. 1 body and No. 2 body, with a length of 225~235 (mm), and the optimal length is 230 (mm);
[0033]
Body No. 3, labeled 13: is a reducing straight pipe, set side by side with Body No. 2, and set on opposite sides to Body No. 1 and Body No. 2. [Not exactly sure what this opposite side to Body No. 1 & 2 means. Translation issue?] Its length is 305~320 (mm), with the optimal length being 312 (mm).
[0034]
No. 2 bend, marked 12: is a reducing bend that connects No. 2 body and No. 3 body. Its length is 120-135 (mm), with the optimal length being 127 (mm).
[0035]
Body No. 4, marked with number 9: is a reducing straight pipe, set up side by side with body No. 3, with a length of 112~122 (mm), and the optimal length is 117 (mm);
[0036]
No. 3 bend, marked 8: is a reducing upper bend that connects No. 3 body and No. 4 body. Its length is 80-95 (mm), with the optimal length being 88 (mm).
[0037]
The pipe body has a gradually changing diameter from φ24~φ28 (mm) to φ110~φ120 (mm), and the optimal pipe diameter can be selected from φ26 to φ116 (mm).
[0038]
The diameter of the flare [bell] opening is φ232~φ250 (mm), and the optimal flare opening diameter is φ240 (mm);
[0039]
The nozzle [neck] length is φ245~φ270 (mm), with the optimal length being 258 (mm). The nozzle [neck] diameter gradually changes from φ14~φ18 (mm) to φ23~φ27 (mm), with the optimal diameter being a gradual change from φ15 to φ25 (mm).
[0040]
Because the bass saxophone has a relatively long body, the key system includes sound holes spaced out on the first body, the first bend, the second body, the second bend, and the third body to meet the needs of operation and sound production.
[0041]
Because the No. 1 and No. 2 bodies are quite long, their assembly and installation are difficult. Therefore, in this invention, the No. 2 body and the No. 2 bend are both inserted into a fixing ring 6 in a detachable manner, and are locked in place by screws (not marked in the figure) on the fixing ring to facilitate installation and adjustment.
All other connections between the stern and the stern body, as well as between the stern bodies, are fixed in the ring-shaped card 4 by welding.[0042]
The contrabass saxophone of this invention is suitable for performances by large bands. It has a range of approximately three octaves, a deep and elegant tone, and excellent intonation. It is a professional-grade saxophone.
CLAIMS CN101409069A
1.
A contrabass saxophone comprises a mouthpiece, mouthpiece, body, horn, and key system. The mouthpiece, mouthpiece, body, and horn are connected sequentially in a pipe shape. The key system is located on the body. Its innovation lies in the fact that the body is composed of the following components, and the dimensions of each component are as follows:
- The first body is a variable-diameter straight pipe connected to the nozzle, with a length of 470-500 mm.
- The second body is a straight pipe with a variable diameter, which is set up side by side with the first body, and its length is 915~935 (mm);
- The first bend is a reducing upper bend that connects the first body and the second body. Its length is 225-235 mm.
- The third body is a variable diameter straight pipe, which is set up side by side with the second body, and its length is 305~320 (mm);
- The second bend is a reducing bend that connects the second and third bodies. Its length is 120-135 mm.
- The fourth body is a variable diameter straight pipe, which is set up side by side with the third body, and its length is 112~122 (mm);
- The No. 3 bend is a reducing upper bend that connects the No. 3 body and the No. 4 body. Its length is 80-95 mm.
- The pipe body has a gradually changing diameter from φ24~φ28 (mm) to φ110~φ120 (mm);
- The diameter of the nozzle [bell] is φ232~φ250 (mm);
- The nozzle [neck] length is φ245~φ270 (mm), and the nozzle diameter gradually changes from φ14~φ18 (mm) to φ23~φ27 (mm).
2.
According to claim 1, the bass saxophone is characterized in that: the sound holes included in the key system are spaced apart on the first body, the first bend, the second body, the second bend, and the third body.
3.
The double bass saxophone according to claim 1, wherein the butt end of the second body and the second elbow are detachably inserted into a fixed ring card, and are fixed by screws provided on the fixing ring card. The lock is fixed.
Jinbao bass in real life
These are some of the HDR photos I took when I had the opportunity to playtest a Jinbao-made bass saxophone for the first time in summer of 2023. They also form part of my review of the instrument.
The photos will help put the various parts and lengths described in the patent above into context.
Colour me confused. Is this not what Selmer has been making for decades?
Adolphe Sax’s very first saxophone he ever made was a bass saxophone. In 1929, Henri Selmer took over the famed Sax workshops from Adolphe’s son, Adolphe-Édouard Sax. Ever since, Selmer Paris has been the undisputed master of French saxophone design, by always moving innovation and design forwards. And while the alto, tenor, and baritones get the most recognition by far, Selmer has been the bedrock of the short wrap, AKA French-style, bass saxophone world.
Selmer’s Mark VI basses still sell for upwards of 20K if in very fine condition, while their new, Super Action 80 Series II are THE standard for modern short wrap design. These Jinbao horns are simply knockoffs, which is why the following statement from the patent application confuses the hell out of me:
[0007]
The purpose of this invention is to overcome the shortcomings of the prior art [whose?] and provide a contrabass saxophone with a reasonable structure, precise design, comfortable playing, and the ability to fully express the deep and elegant tone of the contrabass, making it highly musically expressive.
Whatever the case, I think it takes some serious cojones to apply for a patent for a knockoff. I don’t know why Selmer didn’t sue.
What exactly are the Selmer specs?
I would really love to see the specs for a Selmer bass saxophone, since Jinyin was given a patent for what exactly? So you change the measurement (maybe/maybe not) of the the tubing, and
you are eligible for a patent?
I’m surprised all those companies that produce all those Selmer, Yamaha, Yani, and JK knockoffs for sale all over the place haven’t applied for patents for them. Or maybe they have, and I just haven’t seen them because I haven’t been looking. ![]()
Is there a concept here that I am simply not understanding? Does fighting Chinese-made knockoffs simply cost too much, with too little luck of success? Or is it simply a case of Whack-A-Mole? As soon as you shut down one source, another pops up again? Is it something else?
German courts said it was OK to copy saxophones
I realize that the German courts threw open the floodgates to the widespread copying of saxophones in the early 1960s, when they ruled that D&J could in effect produce exact copies of JK Toneking and The New King tenor saxophones, but to get patents? This seems to take this copying to a whole other level. Also, since I’m not a lawyer, I would be curious to know how binding this precedent was/is on a global level, and whether this has been struck down by other courts since.
Just like Dörfler & Jörka in mid century Germany, Jinbao is creating tonal copies of an existing saxophone brand/model. They obviously did this through reverse-engineering a Selmer Super Action 80 Series II bass.
To better be able to compare/contrast the knockoff to what it is copying, I have a photo of a Jinbao-stencilled Levante Bb bass saxophone that was listed on Amazon.com in November 2015 for $6,397.49.

And here is a Selmer Series II Bb bass saxophone. Contact your local Selmer dealer for a price on this one, as the prices may vary from what Selmer shows on their website. Yes, it costs more than the one shown above. However, there is no comparison. Please read this article if you considering a bass sax purchase.

My final thoughts, but I am open to being wrong
I would be willing to stake my collection of vintage beauties on the fact that in 25 years of serious use by a pro player, a Series II will be in much better condition than a Jinbao one that has seen equal use. My bet: The Jinbao horn will be either a lamp, umbrella stand, or otherwise recycled piece of metal. This is just my opinion based on my personal experiences with modern horns made in China and Taiwan. Go ahead, prove me wrong. I’m completely open to it.











































